也称计划性维修,指在出现故障之前的予防性措施,也可理解为安装前的予防和日常性维护保养。包括安装时采取的预防性措施、巡回检查时采取的预防性措施和临时性维修。
2025-03-21 云开体育官方网站登录·(中国)官网入口
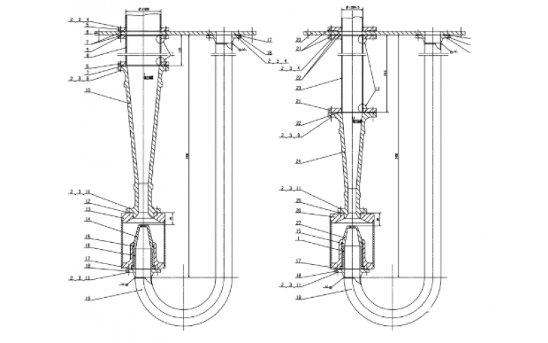
在开始安装时,就要拟定好控制阀的预防性维修计划,虽然阀体及控制阀的连接均是紧固的结构,但不能把它们用以调整对中安装错位的管道。 必须注意,由于不适当的管线组合而引起的任何应力,应保证能在管线系统的其它地方消除。
2025-03-05 云开体育官方网站登录·(中国)官网入口
电力变压器噪声,产生原因/听声辩好坏/解决方法
2022-08-26 云开体育官方网站登录·(中国)官网入口电气
注油器工作原理知识分享
2022-06-20 云开体育官方网站登录·(中国)官网入口设备