云开体育官方网站登录·(中国)官网入口
新闻动态
KWZK云开体育官方网站登录·(中国)官网入口
网站云开体育官方网站登录·(中国)官网入口
云开体育官方网站登录·(中国)官网入口
公司简介
在线反馈
联系我们
产品展示
全部
传感器/变送器
流量计系列
液位/料位系列
阀门/执行装置
液压/气动元件
检维修工器具
化验/分析仪器
其他机电仪产品
新闻动态
全部
行业知识
企业新闻
资料下载
客户案例
新闻动态
推荐
热门
最新
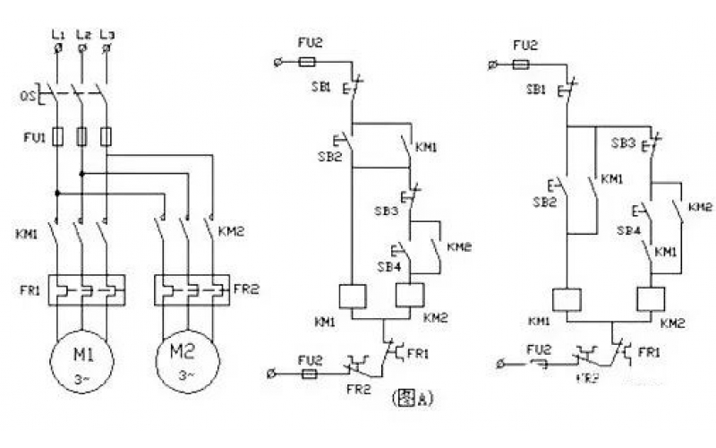
电动机控制线路故障查找方法
电动机控制线路故障查找方法
2023-02-06
云开体育官方网站登录·(中国)官网入口
上一页
1
下一页
转至第
云开体育官方网站登录·(中国)官网入口
产品
新闻
联系